
미특허청은 지난해 12월27일 LG전자가 대형 플렉시블 스크린 기반의 전혀 새로운 방식의 폴더블폰을 특허출원했다고 공표했다. ‘전자 기기(Electronic device)'라는 명칭의 이 특허 출원일은 2017년 10월 3일이다.
지금까지 LG전자의 폴더블폰이 어떤 사양을 가지고 있는지는 거의 알려져 있지 않았다. 하지만 지난해말 발표된 LG전자의 특허 출원된 폴더블폰은 접힌 위치에서 디스플레이가 밖으로 펼쳐지는 완전히 새로운 폴더블폰을 보여준다.
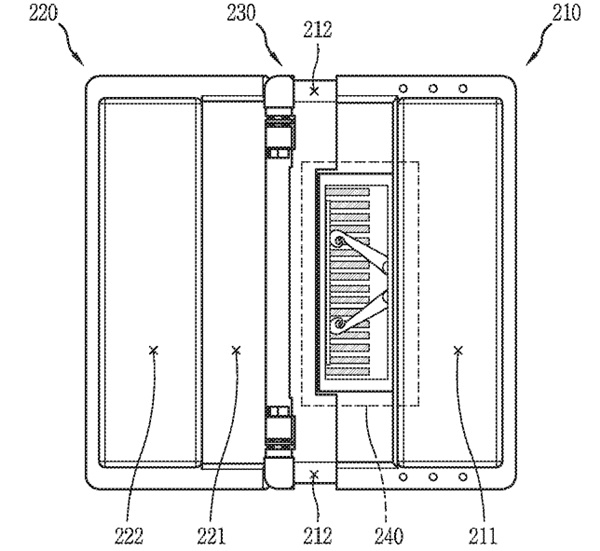
특허출원된 LG전자 스마트폰에는 변형되는 한 장의 커다란 플렉서블 디스플레이가 있다. 단말기를 접었을 때 화면이 바깥쪽에 있으며 이는 또다른 앞면 디스플레이를 사용할 필요가 없다는 의미다.



플렉시블 디스플레이는 우측을 통해 앞면에서 모든 면으로 확장된다. 왼쪽에는 여전히 작은 베젤이 있다. 경첩 가운데에는 2개의 스프링이 놓여있다. 이 스마트폰을 펼칠 때 화면을 조금 당겨야 하며, 이후 스프링들이 단말기를 펼친 그대로 유지시켜 준다.
이 단말기에는 스타일러스 펜이 장착되어 있을 수 있다. 게다가 이 LG전자의 폴더블폰에는 여러 개의 카메라가 장착된다. 카메라의 위치에 대해서는 명확히 밝혀진 것이 없다. 하지만 특허출원서에는 2개의 가능성을 언급하고 있다. 즉 LG전자의 폴더블폰은 매트릭스(격자)방식으로 카메라를 배치해 여러 각도에서 사진을 찍어 결과물을 산출할 수 있도록 하거나, 입체로 카메라를 배치해 사진을 왼쪽에서 오른쪽으로 촬영해 3D이미지를 생성할 수 있도록 할 수도 있다.
이재구 기자 jklee@g-enews.com